SA59減速機銘牌參數說明解讀含義:有關型號描述的詳細情況及其他信息可以參閱本業附件下載中的SA59減速機選型樣本。
SA59-BEJB1.5KW-4P-16.47-M2-270°
SA:系列代號
59:減速機規格代號
BEJB:電機
1.5KW:電機功率
4P:電機級數
16.47:減速機傳動比
M2:減速機安裝位置
270°:接線盒位置

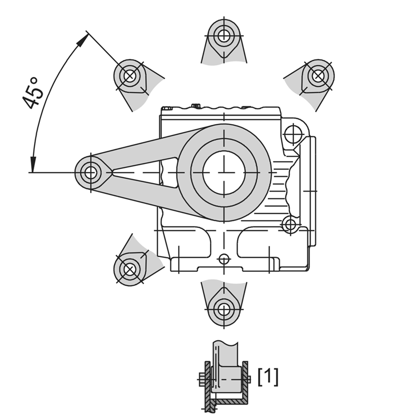
SA59減速機扭力臂安裝:
裝配時不得對扭矩支架用力過猛,固定扭矩臂時應采用強度為8.8級的螺栓。下圖為SA59減速機的扭力臂安裝示意圖:兩面均安裝支架。齒輪減速電機

減速機型號 | 螺栓 | 擰緊扭矩 |
SA39減速機 | 4xM6x16-8.8 | 11Nm |
SA49減速機 | 4xM8x20-8.8 | 25Nm |
SA59減速機 | 6xM8x20-8.8 | 25Nm |
SA69減速機 | 8xM12x25-8.8 | 86Nm |
SA79減速機 | 8xM12x35-8.8 | 86Nm |
SA89減速機 | 8xM16x35-8.8 | 210Nm |
SA99減速機 | 8xM16x35-8.8 | 210Nm |
SA59減速機電機安裝和電機安裝位置的調整:
均勻調整螺母將電機安裝平臺固定到需要的位置。如要將SA59減速機的位置調整到最低,則在必要情況下可以拆除吊裝螺栓/吊耳;對于損傷的漆面部位進行修補。自鎖減速機
將電機與電機安裝平臺對準(軸端不許對齊)并固定。
將輸入端部件安裝于輸入端的軸端面和電機軸,將輸入部件、軸端與電機軸的位置相互校正;如果必要可以對電機位置進行再次校正。
裝上傳動部件(V型皮帶、鏈條...)并均勻調節電機安裝平臺使其預張緊。期間不得用力過猛,否則將會擰壞電機安裝平臺和螺桿。
擰緊非調整螺母以固定螺桿。伺服電機連接減速機

SA59減速機型號:
WSA57-Y0.18KW,WSA57-Y0.25KW,WSA57-Y0.37KW,WSA57-Y0.55KW,WSA57-Y0.75KW,WSA57-Y1.1KW,WSA57-Y1.5KW,WSA57-Y100M4,WSA57-Y2.2KW,WSA57-Y3KW,WSA57-Y63M4,WSA57-Y71M4,WSA57-Y80M4,WSA57-Y90M4,WSA57-YB100M4,WSA57-YB63M4,WSA57-YB71M4,WSA57-YB80M4,WSA57-YB90M4,WSA57-YDP100M4,WSA57-YDP63M4,WSA57-YDP71M4,WSA57-YDP80M4,WSA57-YDP90M4,WSA57-YE100M4,WSA57-YE63M4,WSA57-YE71M4,WSA57-YE80M4,WSA57-YE90M4,WSA57-YEJ100M4,WSA57-YEJ63M4,WSA57-YEJ71M4,WSA57-YEJ80M4,WSA57-YEJ90M4,WSA57-YEJB100M4,WSA57-YEJB63M4,WSA57-YEJB71M4,WSA57-YEJB80M4,WSA57-YEJB90M4,WSA57-YP100M4,WSA57-YP63M4,WSA57-YP71M4,WSA57-YP80M4,WSA57-YP90M4,WSA57-YPB100M4,WSA57-YPB63M4,WSA57-YPB71M4,WSA57-YPB80M4,WSA57-YPB90M4,WSA57-YPE100M4,WSA57-YPE63M4,WSA57-YPE71M4,WSA57-YPE80M4,WSA57-YPE90M4,WSA57-YS100M4,WSA57-YS63M4,WSA57-YS71M4,WSA57-YS80M4,WSA57-YS90M4,WSA57-YVB100M4,WSA57-YVB63M4,WSA57-YVB71M4,WSA57-YVB80M4,WSA57-YVB90M4,WSA57-YVP100M4,WSA57-YVP63M4,WSA57-YVP71M4,WSA57-YVP80M4,WSA57-YVP90M4,WSA57-YVPEJ100M4,WSA57-YVPEJ63M4,WSA57-YVPEJ71M4,WSA57-YVPEJ80M4,WSA57-YVPEJ90M4,NSA57-Y0.18KW,NSA57-Y0.25KW,NSA57-Y0.37KW,NSA57-Y0.55KW,NSA57-Y0.75KW,NSA57-Y1.1KW,NSA57-Y1.5KW,NSA57-Y100M4,NSA57-Y2.2KW,NSA57-Y3KW,NSA57-Y63M4,NSA57-Y71M4,NSA57-Y80M4,NSA57-Y90M4,NSA57-YB100M4,NSA57-YB63M4,NSA57-YB71M4,NSA57-YB80M4,NSA57-YB90M4,NSA57-YDP100M4,NSA57-YDP63M4,NSA57-YDP71M4,NSA57-YDP80M4,NSA57-YDP90M4,NSA57-YE100M4,NSA57-YE63M4,NSA57-YE71M4,NSA57-YE80M4,NSA57-YE90M4,NSA57-YEJ100M4,NSA57-YEJ63M4,NSA57-YEJ71M4,NSA57-YEJ80M4,NSA57-YEJ90M4,NSA57-YEJB100M4,NSA57-YEJB63M4,NSA57-YEJB71M4,NSA57-YEJB80M4,NSA57-YEJB90M4,NSA57-YP100M4,NSA57-YP63M4,NSA57-YP71M4,NSA57-YP80M4,NSA57-YP90M4,NSA57-YPB100M4,NSA57-YPB63M4,NSA57-YPB71M4,NSA57-YPB80M4,NSA57-YPB90M4,NSA57-YPE100M4,NSA57-YPE63M4,NSA57-YPE71M4,NSA57-YPE80M4,NSA57-YPE90M4,NSA57-YS100M4,NSA57-YS63M4,NSA57-YS71M4,NSA57-YS80M4,NSA57-YS90M4,NSA57-YVB100M4,NSA57-YVB63M4,NSA57-YVB71M4,NSA57-YVB80M4,NSA57-YVB90M4,NSA57-YVP100M4,NSA57-YVP63M4,NSA57-YVP71M4,NSA57-YVP80M4,NSA57-YVP90M4,NSA57-YVPEJ100M4,NSA57-YVPEJ63M4,NSA57-YVPEJ71M4,NSA57-YVPEJ80M4,NSA57-YVPEJ90M4,ASA57-Y0.18KW,ASA57-Y0.25KW,ASA57-Y0.37KW,ASA57-Y0.55KW,ASA57-Y0.75KW,ASA57-Y1.1KW,ASA57-Y1.5KW,ASA57-Y100M4,ASA57-Y2.2KW,ASA57-Y3KW,ASA57-Y63M4,ASA57-Y71M4,ASA57-Y80M4,ASA57-Y90M4,ASA57-YB100M4,ASA57-YB63M4,ASA57-YB71M4,ASA57-YB80M4,ASA57-YB90M4,ASA57-YDP100M4,ASA57-YDP63M4,ASA57-YDP71M4,ASA57-YDP80M4,ASA57-YDP90M4,ASA57-YE100M4,ASA57-YE63M4,ASA57-YE71M4,ASA57-YE80M4,ASA57-YE90M4,ASA57-YEJ100M4,ASA57-YEJ63M4,ASA57-YEJ71M4,ASA57-YEJ80M4,ASA57-YEJ90M4,ASA57-YEJB100M4,ASA57-YEJB63M4,ASA57-YEJB71M4,ASA57-YEJB80M4,ASA57-YEJB90M4,ASA57-YP100M4,ASA57-YP63M4,ASA57-YP71M4,ASA57-YP80M4,ASA57-YP90M4,ASA57-YPB100M4,ASA57-YPB63M4,ASA57-YPB71M4,ASA57-YPB80M4,ASA57-YPB90M4,ASA57-YPE100M4,ASA57-YPE63M4,ASA57-YPE71M4,ASA57-YPE80M4,ASA57-YPE90M4,ASA57-YS100M4,ASA57-YS63M4,ASA57-YS71M4,ASA57-YS80M4,ASA57-YS90M4,ASA57-YVB100M4,ASA57-YVB63M4,ASA57-YVB71M4,ASA57-YVB80M4,ASA57-YVB90M4,ASA57-YVP100M4,ASA57-YVP63M4,ASA57-YVP71M4,ASA57-YVP80M4,ASA57-YVP90M4,ASA57-YVPEJ100M4,ASA57-YVPEJ63M4,ASA57-YVPEJ71M4,ASA57-YVPEJ80M4,ASA57-YVPEJ90M4,SSA57-Y0.18KW,SSA57-Y0.25KW,SSA57-Y0.37KW,SSA57-Y0.55KW,SSA57-Y0.75KW,SSA57-Y1.1KW,SSA57-Y1.5KW,SSA57-Y100M4,SSA57-Y2.2KW,SSA57-Y3KW,SSA57-Y63M4,SSA57-Y71M4,SSA57-Y80M4,SSA57-Y90M4,SSA57-YB100M4,SSA57-YB63M4,SSA57-YB71M4,SSA57-YB80M4,SSA57-YB90M4,SSA57-YDP100M4,SSA57-YDP63M4,SSA57-YDP71M4,SSA57-YDP80M4,SSA57-YDP90M4,SSA57-YE100M4,SSA57-YE63M4,SSA57-YE71M4,SSA57-YE80M4,SSA57-YE90M4,SSA57-YEJ100M4,SSA57-YEJ63M4,SSA57-YEJ71M4,SSA57-YEJ80M4,SSA57-YEJ90M4,SSA57-YEJB100M4,SSA57-YEJB63M4,SSA57-YEJB71M4,SSA57-YEJB80M4,SSA57-YEJB90M4,SSA57-YP100M4,SSA57-YP63M4,SSA57-YP71M4,SSA57-YP80M4,SSA57-YP90M4,SSA57-YPB100M4,SSA57-YPB63M4,SSA57-YPB71M4,SSA57-YPB80M4,SSA57-YPB90M4,SSA57-YPE100M4,SSA57-YPE63M4,SSA57-YPE71M4,SSA57-YPE80M4,SSA57-YPE90M4,SSA57-YS100M4,SSA57-YS63M4,SSA57-YS71M4,SSA57-YS80M4,SSA57-YS90M4,SSA57-YVB100M4,SSA57-YVB63M4,SSA57-YVB71M4,SSA57-YVB80M4,SSA57-YVB90M4,SSA57-YVP100M4,SSA57-YVP63M4,SSA57-YVP71M4,SSA57-YVP80M4,SSA57-YVP90M4,SSA57-YVPEJ100M4,SSA57-YVPEJ63M4,SSA57-YVPEJ71M4,SSA57-YVPEJ80M4,SSA57-YVPEJ90M4,GSA59-Y0.18KW,GSA59-Y0.25KW,GSA59-Y0.37KW,GSA59-Y0.55KW,GSA59-Y0.75KW,GSA59-Y1.1KW,GSA59-Y1.5KW,GSA59-Y100M4,GSA59-Y2.2KW,GSA59-Y3KW,GSA59-Y63M4,GSA59-Y71M4,GSA59-Y80M4,GSA59-Y90M4,GSA59-YB100M4,GSA59-YB63M4,GSA59-YB71M4,GSA59-YB80M4,GSA59-YB90M4,GSA59-YDP100M4,GSA59-YDP63M4,GSA59-YDP71M4,GSA59-YDP80M4,GSA59-YDP90M4,GSA59-YE100M4,GSA59-YE63M4,GSA59-YE71M4,GSA59-YE80M4,GSA59-YE90M4,GSA59-YEJ100M4,GSA59-YEJ63M4,GSA59-YEJ71M4,GSA59-YEJ80M4,GSA59-YEJ90M4,GSA59-YEJB100M4,GSA59-YEJB63M4,GSA59-YEJB71M4,GSA59-YEJB80M4,GSA59-YEJB90M4,GSA59-YP100M4,GSA59-YP63M4,GSA59-YP71M4,GSA59-YP80M4,GSA59-YP90M4,GSA59-YPB100M4,GSA59-YPB63M4,GSA59-YPB71M4,GSA59-YPB80M4,GSA59-YPB90M4,GSA59-YPE100M4,GSA59-YPE63M4,GSA59-YPE71M4,GSA59-YPE80M4,GSA59-YPE90M4,GSA59-YS100M4,GSA59-YS63M4,GSA59-YS71M4,GSA59-YS80M4,GSA59-YS90M4,GSA59-YVB100M4,GSA59-YVB63M4,GSA59-YVB71M4,GSA59-YVB80M4,GSA59-YVB90M4,GSA59-YVP100M4,GSA59-YVP63M4,GSA59-YVP71M4,GSA59-YVP80M4,GSA59-YVP90M4,GSA59-YVPEJ100M4,GSA59-YVPEJ63M4,GSA59-YVPEJ71M4,GSA59-YVPEJ80M4,GSA59-YVPEJ90M4。
SA59減速機生產廠家展示:看廠請聯系微信13827261050,獲取位置,需提前一天預約http://m.lbclaser.com/product/list-saxiliejiansuji-cn.html




推薦類似型號:S59減速機
關鍵詞:私服電機帶減速機一體機_伺服電機連接減速機_SA系列減速機_私服電機減速機_GSA系列減速機_SA系列減速器_伺服電機連接減速器_私服減速機_私服電機減速器
SA系列減速機型號:SA39減速機,SA49減速機,SA59減速機,SA69減速機,SA79減速機,SA89減速機,SA99齒輪減速電機
SA系列自鎖減速機可配變頻電機,剎車電機,防爆電機,伺服電機,交流電機,直流電機,三相電機,單相電機 0.12KW-22KW之間
如需工程師幫選型,請加微信13827261050,留言告知工程師參數要求
標簽:   SA59減速機 SA57減速機結構圖 SA57減速機數模 SA57減速機樣本 SA57減速機規格